发布日期:2025-10-16 07:55 点击次数:99
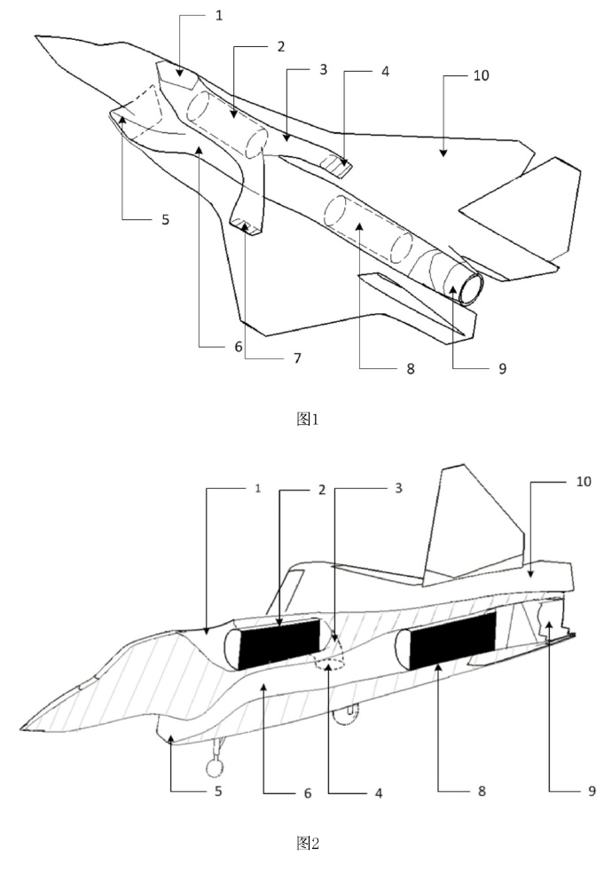
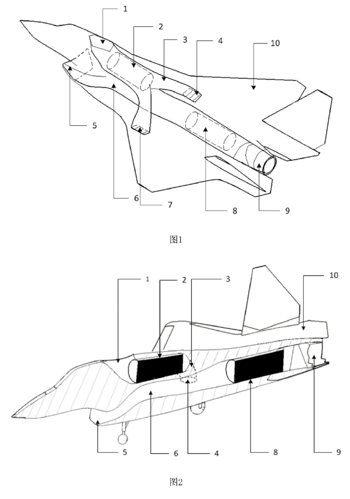
近日,《一种双发串联垂直起降飞机 实用新式专利》和《一种油电搀杂启动双发短距垂直起降飞机相称操控要津 发明专利央求》两篇专利文献激励热议。这两份专利文献分袂来自南北两个知名飞机参谋所,实验如标题所说MK体育官网,是垂直起降战机的策画宗旨。中国此前从未研制过垂直起降战机MK体育官网,也因此有不少东谈主对好意思国的F-35B战争机敬爱有加。但目下看,咱们似乎有意踏入这个未知边界。况且起步等于双发垂直起降飞机,策画制造难度比单发的F-35B还要高。这讲明咱们的航空工业时候如故达到了寰球跳动水平,或者挑战好意思国东谈主王人没挑战的难度。况且策画难度高是高,但双发构型也比单发构型性能后劲更高、更先进。跳动就跳动好意思国。